- 2018年全国执业兽医资格考试通关宝典·临床兽医学部分
- 任志华 邓俊良主编
- 780字
- 2025-02-21 10:24:36
第四章 循环系统检查

一、心脏临床检查
(一)心脏视诊和触诊——心搏动检查
1.部位
一般在左侧进行,必要时可在右侧。

2.心搏动的病理变化

(二)心脏听诊检查
1.心音的产生及特点

健康动物心音的特点

心音最佳听取点

2.心音强度的病理性变化
(1)影响心音强度的因素

(2)心音强度的病理性改变

3.心音性质的病理性改变

4.心音节律改变(心律不齐)

5.心音分裂或重复
两房室瓣或半月瓣关闭不同时。一个心音没有完全分开——心音分裂,一个心音完全分开——心音重复。

6.心脏杂音
心脏杂音对心脏瓣膜及心包疾病的诊断具有重要意义。
(1)心脏杂音及其产生
心杂音指伴随心脏活动出现的正常心音以外的持续时间较长的附加声音,其音性柔和似吹风样或尖锐似哨音或粗糙似锯木样、皮革摩擦音。心杂音是血液由正常的层流(轴流)变为漩涡运动(涡流)而产生的;贫血性杂音是由于血流速度加快、血液黏滞系数降低,雷诺尔氏系数增大(超过1000),血液变涡流所致。
(2)心杂音的分类及临床意义

器质性杂音与非器质性杂音的区别

注意:1.瓣膜病变与心内杂音的关系(非一定有联系)为瓣膜有病变可无心内杂音,有心内杂音可无瓣膜病变。
2.杂音强度并不能完全直接反映病变的程度(适度的瓣口狭窄或瓣膜闭锁不全,杂音越强;狭窄口两侧压力差越大,杂音越强;血流速度越快,杂音越强)。
(三)心脏叩诊检查
1.动物正常心浊音区

2.心脏叩诊的病理变化

二、心电图检查
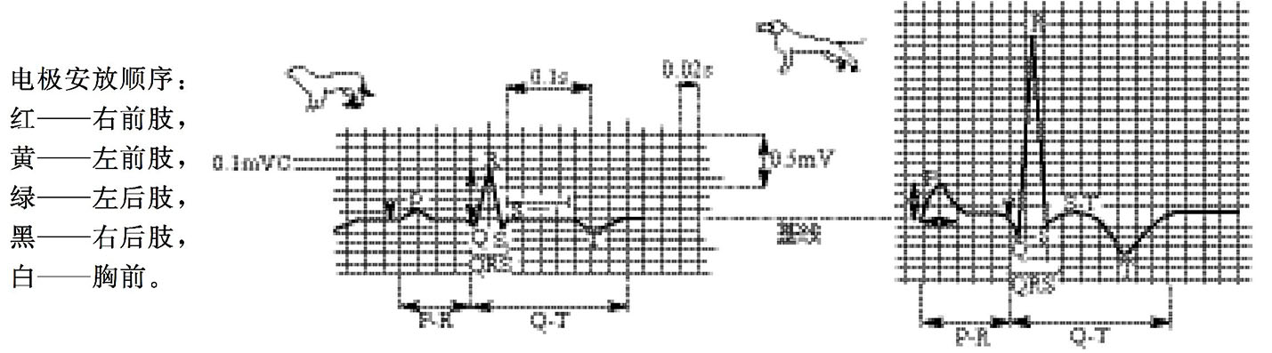
(一)心电图的导联
常用的导联有标准导联(亦称双极肢体导联)、加压单极肢体导联、A-B导联、双极胸导联、单极胸导联等。
(二)心电图各组成部分的名称

(三)心电图检查法的临床应用

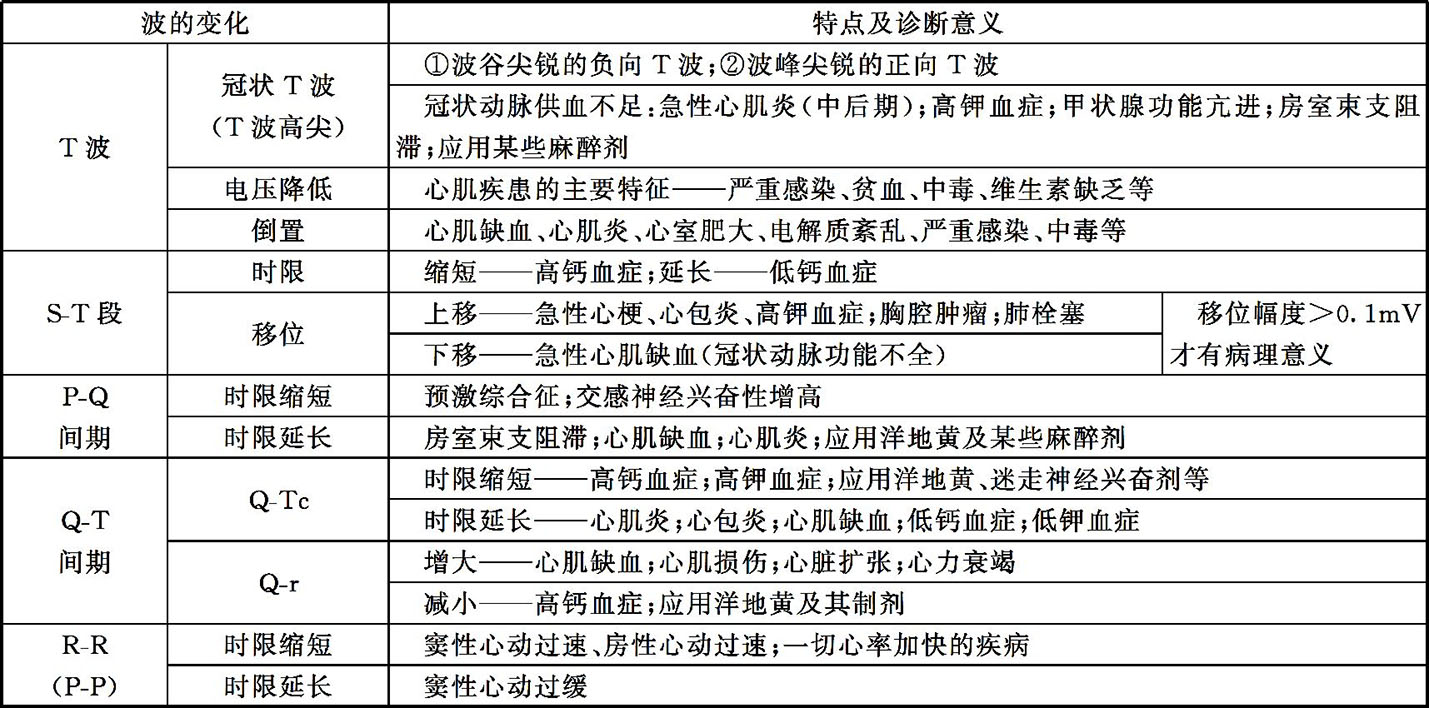
常见心电图各波及间期变化的诊断意义


常见疾病心电图变化

主要心律失常的心电图变化

三、血管检查
(一)静脉检查
1.充盈度

2.颈静脉波动

(二)毛细血管再充盈时间测定

(三)动脉检查
脉搏次数、节律及性质。

四、循环系统疾病诊断要点(心功能判断)
动物心功能判定指标

(严光文)